
基于梯度缺陷的薄壁圆筒吸能主动控制研究取得进展
|
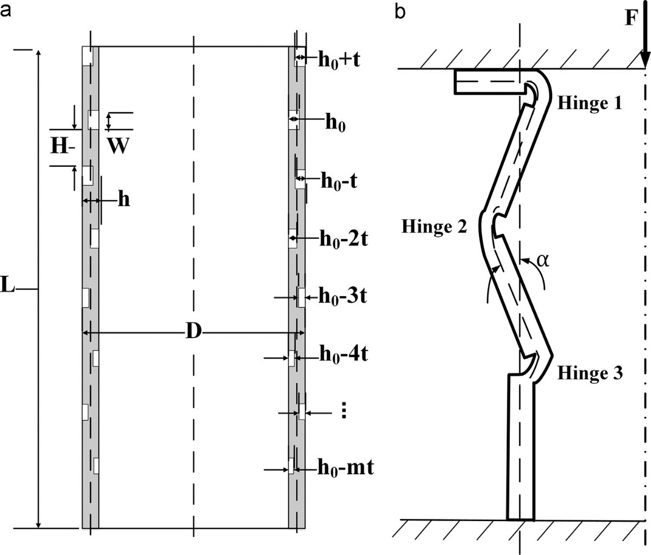
在高温气冷核反应堆中,控制反应速度的控制棒在遭遇地震、紧急停堆等事故时会触发自由跌落模式。因此,建立相应的防护系统以吸收控制棒动能是控制棒设计体系中的重要环节。由于核反应堆内部结构的特殊性,吸能防护系统的设计面临严苛的要求,包括吸能历程的稳定性、压溃力精确控制以及高温下的运行可靠性等。 面对上述问题,中科院力学所流固耦合系统力学重点实验室冲击与耦合效应课题组提出了基于梯度缺陷的主动控制方法来调控压溃历程,并通过赋予不同的梯度参数获取不同趋势的压溃力演化特征。研究人员在经典薄壁圆筒基础上,将人工预制的缺陷以内外环交叠的形式布置于筒壁上,其深度线性递减,形成了梯度缺陷圆筒结构(Gradient grooved tube, GGT)。理论分析中,在塑性铰理论基础上引入梯度缺陷项,获得了以压溃位移为自变量的分段平均压溃力函数,其中包含了应变强化及应变率强化的影响。研究发现,此类结构压溃历程主要受三个无量纲参数控制,包括控制局部几何协调性的无量纲凹槽宽度,控制局部稳定性的无量纲凹槽深度以及决定屈曲模式可控性的无量纲半波长。利用数值模拟方法,研究人员深入探讨了上述参数的合理范围及其对屈曲历程的影响规律。在相关工业部门进行的原型验证试验中,梯度缺陷筒表现出了优异的吸能特性和抗侧向扰动能力,实验过程中,吸能装置均能保持理想的圆环形屈曲模式和稳定的吸收历程,获得了总体设计单位的肯定。 薄壁圆筒作为重要的冲击防护结构形式,在诸多领域有着实际的应用场景。本项研究实现了在非稳定加载条件下对吸能压溃历程的精确预测及主动控制,已应用于最新的高温气冷核反应堆中,并有望在多类吸能构件上推广应用。相关工作发表于期刊International Journal of Mechanical Sciences上,[Wei Yanpeng; Yang Zhe; Yan He; Guo Yacong; Wu Xianqian; Huang Chenguang, International Journal of Mechanical Sciences 108-109 (2016) 49–60]。 原文链接:http://www.sciencedirect.com/science/article/pii/S0020740316000473
图1 a)梯度环形凹槽缺陷布置示意图b)梯度缺陷筒的褶皱屈曲模型
图2无量纲半波长对压溃历程的控制效果
图3梯度缺陷筒压溃力的数值模拟结果与实验结果比较
图4原型验证实验a)模型试验中的细长控制棒b)控制棒冲击梯度缺陷筒c)完整筒受控制棒冲击发生欧拉失稳d)梯度缺陷筒的圆环形屈曲模式 LMFS供稿 |
附件下载: